Просмотры:0 Автор:Pедактор сайта Время публикации: 2026-02-28 Происхождение:Работает
Функция цилиндрической формы бумагоделательной машины
Цилиндрическая форма является основным компонентом, на котором формируется бумажное полотно в цилиндрической бумагоделательной машине. Требуйте, чтобы он фильтровал воду равномерно и не создавал чрезмерного перемешивания в сетчатом резервуаре во время вращения. Форма-цилиндр должна иметь достаточную жесткость, точные геометрические размеры и устанавливаться горизонтально.
В зависимости от конструкции цилиндрические формы подразделяются на обычные, чиповочные, всасывающие и вакуумные. Разделяется по материалу: обычная, полностью медная цилиндрическая форма из нержавеющей стали.
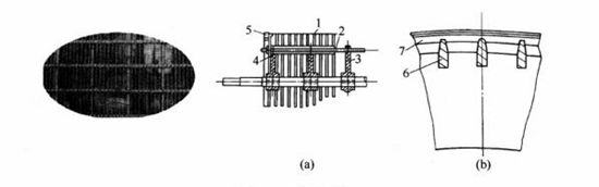
Ниже показано схематическое изображение типичной конструкции цилиндрической формы.

На чугунном валу установлено латунное опорное ребро, называемое спицами, с шагом между спицами 100-150мм. Спицы поддерживают центральный обод колеса и окружены канавками. Пазы снабжены горизонтальными стержнями той же длины, что и цилиндрическая форма. Диаметр горизонтальной планки составляет около 1 см, расстояние между центрами около 4 см, параллельно центральной оси. Турник изготавливается из стали или латуни, а его сечение может быть круглым или прямоугольным. Два крайних колеса отлиты с выступающими кольцами, которые образуют уплотнение с соответствующими частями сетчатой канавки, изолируя внутреннюю и внешнюю часть цилиндрической формы. Фрезерование зубчатых небольших канавок на турнике по спиральной линии, наматывание непрерывной металлической проволоки диаметром около 3 мм по спирали вокруг формы цилиндра с образованием сетчатого каркаса цилиндра цилиндрической формы. Зазор между соседними металлическими проводами составляет около 1 см. Наконец, покройте медную проволоку более толстым слоем сетки из латуни или нержавеющей стали, а затем покройте ее более тонкой сеткой, используемой для изготовления бумаги. Как внутренняя сетка, так и поверхностная сетка представляют собой концевые сетки, которые затягиваются на раме цилиндрической формы с помощью специальных инструментов и соединяются серебряной или электросваркой. Окончательная сборка должна быть очень круглой и концентрической с центральной осью, с достаточной жесткостью, чтобы выдерживать давление роликов без деформации. Диапазон диаметров стандартной цилиндрической формы составляет около 1-1,5 м, а обычно используемая спецификация составляет 1,2 м.
Несущее устройство цилиндрической формы расположено за пределами канавки сетки. Два конца цилиндрической формы соединены с боковой коробкой сетчатого паза. После того, как пульпа соединена с решеткой, белая вода, фильтруемая в цилиндрическую форму через медную сетку, поступает в боковую коробку с обоих концов цилиндрической формы, а затем откачивается насосом белой воды для переработки.

Внутренняя сетка цилиндрической формы обычно имеет размер 8-16 сеток, в основном используется для распределения давления роликов и поддержания плоской поверхности сетки. Сетка относительно плотная и используется для фильтрации волокон при формировании бумажного полотна, обычно ее размер составляет 40-100 меш. Выбор размера ячеек в основном зависит от разновидности производимой бумаги, а наиболее часто используемый размер ячеек для производства обычной культуральной бумаги составляет 65 меш.
На следующем рисунке показана конструктивная форма цилиндрической формы чипового типа. Цилиндрическая форма чипового типа подразумевает замену внешнего диска обычной цилиндрической формы с медной проволоки диаметром 3 мм на пластину из нержавеющей стали с прямоугольным поперечным сечением. Его основными особенностями являются: увеличение площади и скорости фильтрации, а также улучшение производительности; Улучшите качество бумаги, включая однородность, вес, соотношение сторон, а также сократите потребление и затраты на обслуживание медной сетки, войлока и других материалов; Увеличьте общую целостность и антикоррозионные характеристики оборудования, за счет высокой прочности, хорошей жесткости и долговечности. Разработаны и изготовлены три типа цилиндрических форм: сквозная стружка, намоточная стружка и наклонная стружка.
![]() | ![]() |
Как продлить срок службы прессованного фетра в бумагоделательных машинах
Почему формование ткани важно для машины по производству бумаги?
Формовочная ткань Sun Hong стабильно работает на бумагоделательной машине со скоростью 1200 м/мин
Знаете ли вы о цилиндрической форме для бумагоделательной машины?